推力滚子轴承
推力滚子轴承属于分离型轴承,安装拆卸方便。轴承的刚性较大,而且占用空间小,能够承受较大的轴向载荷和一定量的冲击载荷,但该结构轴承允许的转速相对较低。







结构及特性
推力滚子轴承按结构分为:推力圆柱滚子轴承、推力圆锥滚子轴承、推力调心滚子轴承、推力滚针轴承。
推力圆柱滚子轴承
根据轴承所具有的滚子组列数不同,分为单列圆柱滚子轴承和双列圆柱滚子轴承。单列圆柱滚子轴承可承受单方向轴向负荷和限制一个方向的轴向位移,双列圆柱滚子轴承可承受双向的轴向负荷和限制两个方向的轴向位移。
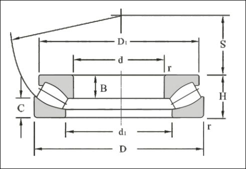
推力圆锥滚子轴承
内外滚道为锥形,滚动体亦为锥形滚子,其三者的延长线交汇于轴承轴心线的同一点。运动摩擦相对其他推力滚子轴承要小。
推力调心滚子轴承
因其负荷作用线与轴线形成一定角度,故该类轴承能同时承受轴向和径向负荷,而且能够在极重的负荷场合使用,允许的转速也较高,推力调心滚子轴承具有较好的自动调心性能,但是允许的角度误差随施加于轴承的实际负荷的增加而减少。
后置代号
(1)内部结构代号
|
代 号
|
含 义
|
|
A、B、C、D、 E
|
1)表示内部结构改变
2)表示标准设计,其含义随不同类型、结构而异
|
|
D
|
剖分式轴承
|
(2)密封、防尘与外部形状变化代号
|
代 号
|
含 义
|
|
DH
|
有两个座圈的单向推力轴承
|
|
DS
|
有两个轴圈的单向推力轴承
|
|
ZH
|
推力轴承,座圈带防尘罩
|
|
ZS
|
推力轴承,轴圈带防尘罩
|
(3)轴承零件材料
|
代 号
|
含 义
|
|
/HE
|
套圈、滚动体和保持架或仅是套圈和滚动体用电渣重熔轴承钢ZGCr15、ZGCr15SiMn制造
|
|
/HA
|
套圈、滚动体和保持架或仅是套圈和滚动体由真空冶炼轴承钢制造
|
|
/HU
|
套圈、滚动体和保持架或仅是套圈和滚动体由不可淬硬不锈钢
1Cr18Ni9Ti制造
|
|
/HV
|
套圈、滚动体和保持架或仅是套圈和滚动体由可淬硬不锈钢(/HV-9Cr18; /HV1-9Cr18Mo)制造
|
|
/HN
|
套圈、滚动体由耐热钢(/HN-Cr4Mo4V;/HN1-Cr14Mo4;/HN2-Cr15Mo4V;/HN3-W18Cr4V)制造
|
|
/HC
|
套圈和滚动体或仅是套圈由渗碳钢(/HC-20Cr2Ni4A;/HC1-20Cr2Mn2MoA;/HC2-15Mn)制造
|
|
/HP
|
套圈和滚动体由铍青铜或其它防磁材料制造
|
|
/HQ
|
套圈和滚动体由不常用的材料(/HQ-塑料;/HQ1-陶瓷合金)制造
|
|
/HG
|
套圈和滚动体或仅是套圈由其它轴承钢(/HG-5CrMnMo;/HG1-55SiMoVA)制造
|
|
/CS
|
轴承零件采用炭素结构钢制造
|
|
F
|
钢、球墨铸铁或粉末冶金实体保持架(F1-碳钢;F2-石墨钢;F3-球墨铸铁;F4-粉末冶金)
|
|
Q
|
青铜实体保持架(Q1-铝铁锰青铜;Q2-硅铁锌青铜;Q3-硅镍青铜;Q4-铝青铜)
|
|
M
|
黄铜实体保持架
|
|
L
|
轻合金实体保持架(L1-LY11CZ;L2-LY12CZ)
|
|
T
|
酚醛层压布管实体保持架
|
|
TH
|
玻璃纤维增强酚醛树脂保持架(筐型)
|
|
TN
|
工程塑料模注保持架(TN1-尼龙;TN2-聚砜;TN3-聚酰亚胺;TN4-聚碳酸酯;TN5-聚甲醛)
|
|
J
|
钢板冲压保持架
|
|
Y
|
铜板冲压保持架
|
|
SZ
|
保持架由弹簧丝或弹簧制造
|
|
ZA
|
锌铝合金保持架
|
|
V
|
满装滚动体(无保持架)
|
(4)公差等级及游隙代号
|
代 号
|
含 义
|
|
/P0
|
公差等级符合标准规定的0级,在代号中省略不表示
|
|
/P6
|
公差等级符合标准规定的6级
|
|
/P6x
|
公差等级符合标准规定的6x级
|
|
/P5
|
公差等级符合标准规定的5级
|
|
/P4
|
公差等级符合标准规定的4级
|
|
/P2
|
公差等级符合标准规定的2级
|
|
/SP
|
尺寸精度相当于P5级,旋转精度相当于P4级
|
|
/UP
|
尺寸精度相当于P4级,旋转精度相当于P4级
|
(5)尺寸系列
|
代 号
|
含 义
|
|
X1
|
轴承外径尺寸非标准
|
|
X2
|
轴承宽度(高度)非标准
|
|
X3
|
轴承外径、宽(高)度非标准(标准内径)
|
非标准轴承代号中内径代号表示方法:非标准外径或宽(高)度尺寸用对照标准尺寸的方法,取最接近的直径系列或宽(高)度系列,并在基本代号后加字母表示。
(6)其它特性代号
|
代 号
|
含 义
|
|
/S0
|
轴承套圈经过高温回火处理,工作温度可达150°C
|
|
/S1
|
轴承套圈经过高温回火处理,工作温度可达200°C
|
|
/S2
|
轴承套圈经过高温回火处理,工作温度可达250°C
|
|
/S3
|
轴承套圈经过高温回火处理,工作温度可达300°C
|
|
/S4
|
轴承套圈经过高温回火处理,工作温度可达350°C
|
|
/HT
|
轴承内充特殊高温润滑脂。当轴承内润滑脂的装填量和标准值不同时附加字母表示:
A—润滑脂的装填量少于标准值; B—润滑脂的装填量多于标准值;
C—润滑脂的装填量多于B(充满)
|
|
/LT
|
轴承内充特殊低温润滑油脂
|
|
/MT
|
轴承内充特殊中温润滑脂
|
|
/LHT
|
轴承内充特殊高、低温润滑油脂
|
|
/Y
|
Y和另一个字母(如YA、YB)组合或再加数字组合用来识别无法用现有后置代号表达的非成系列的改变
|
|
/YA
|
结构改变(综合表达);
|
|
/YB
|
技术条件改变(综合表达)
|
注:凡轴承代号中有/Y和另一个字母或加数字的后置代号,应查阅图纸或补充技术条件或向本公司产品设计部门咨询以便了解其改变的具体内容。
应用
推力圆柱滚子轴承主要用于重型机床、大功率船用齿轮箱、石油钻机、立式电机等机械中。



