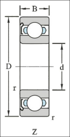
带防尘盖的深沟球轴承
带防尘盖的深沟球轴承防尘密封盖材料为钢板冲压,起到简单的防止灰尘进入轴承滚道。




结构与特性
带防尘盖的深沟球轴承分为Z型和2Z型两种,一面带防尘盖的是Z型,两面带防尘盖的是2Z型。带防尘盖的轴承用在单独润滑较为困难、安置润滑油路和检查情况不方便的条件下,轴承在制造厂已填注了定量、定牌号的防锈、润滑两用锂基脂。每套轴承注入的脂量通常是轴承内有效空间的1/4~1/3,也可根据用户要求增减用脂量。如果用户对轴承还有更高的要求,也可根据情况填注其他性能、牌号的润滑脂。带防尘盖的轴承经过注脂就可长期有效的工作,不需在使用期间再添加润滑脂。可以防止灰尘进入轴承内部,减少轴承的磨损。
后置代号说明
(1)内部结构代号
|
代 号
|
含 义
|
|
E
|
加强型1)
|
注:1)加强型,即内部结构设计改进,增大轴承承载能力。
(2)密封、防尘与外部形状变化代号
|
代 号
|
含 义
|
|
K
|
圆锥孔内径 锥度1:12(外球面球轴承除外)
|
|
N
|
轴承外圈有止动槽
|
|
NR
|
轴承外圈有止动槽,并带止动环
|
|
-Z
|
轴承一面带防尘盖
|
|
-2Z
|
轴承两面带防尘盖
|
|
-ZN
|
轴承一面带防尘盖,另一面外圈有止动槽
|
|
-ZNR
|
轴承一面带防尘盖,另一面外圈有止动槽并带止动环
|
|
-ZNB
|
轴承一面带防尘盖,同一面外圈有止动槽
|
|
-2ZN
|
轴承两面带防尘盖,外圈有止动槽
|
|
WB
|
宽内圈轴承(双面宽):WB1单面宽
|
(3)轴承零件材料
|
代 号
|
含 义
|
|
M
|
黄铜实体保持架
|
|
TN
|
工程塑料模注保持架(TN1-尼龙;TN2-聚砜;TN3-聚酰亚胺;TN4-
聚碳酸酯;TN5-聚甲醛)
|
(4)公差等级及游隙代号
|
代 号
|
含 义
|
|
/P0
|
公差等级符合标准规定的0级,在代号中省略不表示
|
|
/P6
|
公差等级符合标准规定的6级
|
|
/P5
|
公差等级符合标准规定的5级
|
|
/P4
|
公差等级符合标准规定的4级
|
|
/P2
|
公差等级符合标准规定的2级
|
|
/C0
|
游隙符合标准规定的0组,在代号中省略不表示
|
|
/C1
|
游隙符合标准规定的1组
|
|
/C2
|
游隙符合标准规定的2组
|
|
/C3
|
游隙符合标准规定的3组
|
|
/C4
|
游隙符合标准规定的4组
|
|
/C5
|
游隙符合标准规定的5组
|
|
/C9
|
轴承的游隙不同于现标准
|
注:当公差等级与游隙代号需同时表示时,可简化表示为P63、P43等,其中/P6表示轴承公差等级P6
级,径向游隙3组;/P43表示轴承公差等级P4级,径向游隙3组。
(5)尺寸系列
|
代 号
|
含 义
|
|
X1
|
轴承外径尺寸非标准
|
|
X2
|
轴承宽度(高度)非标准
|
|
X3
|
轴承外径、宽(高)度非标准(标准内径)
|
(6)其它特性代号
|
代 号
|
含 义
|
|
/Z
|
轴承振动加速度级极值组别。附加数字表示极值不同,分Z1组;Z2组;Z3组
|
|
/V
|
轴承振动速度级极值组别。附加数字表示极值不同,分V1组;V2组;V3组
|
|
/S0
|
轴承套圈经过高温回火处理,工作温度可达150°C
|
|
/S1
|
轴承套圈经过高温回火处理,工作温度可达200°C
|
|
/S2
|
轴承套圈经过高温回火处理,工作温度可达250°C
|
|
/S3
|
轴承套圈经过高温回火处理,工作温度可达300°C
|
|
/S4
|
轴承套圈经过高温回火处理,工作温度可达350°C
|
|
/HT
|
轴承内充特殊高温润滑脂。当轴承内润滑脂的装填量和标准值不同时附加字母表示:
A—润滑脂的装填量少于标准值; B—润滑脂的装填量多于标准值;C—润滑脂的装填量多于B(充满)
|
|
/LT
|
轴承内充特殊低温润滑脂
|
|
/MT
|
轴承内充特殊中温润滑脂
|
|
/LHT
|
轴承内充特殊高、低温润滑油脂
|
|
/Y
|
Y和另一个字母(如YA、YB)组合用来识别无法用现有后置代号表达的非成系列的改变
|
|
/YA
|
结构改变(综合表达);
|
|
/YB
|
技术条件改变(综合表达)
|
注:凡轴承代号中有/Y和另一个字母或加数字的后置代号,应查阅图纸或补充技术条件或向本公司产品设计部门咨询以便了解其改变的具体内容。
应用:
带防尘盖深沟球轴承轴承多用于中小型发电机、电动机的转子两端、汽车、拖拉机、空调器、风扇等处,以及对轴承的噪声振动有特别要求的场合。



